基于MAX16823的三通道线性HBLED驱动电路
QooIC.com 新闻出处:电子市场 | 发布时间:2010/10/25 15:05:13
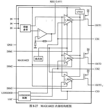
MAX16823采用16引脚TQFN-EP封装,内含3个通道线性HBLED驱动器,其内部结构如图8-27所示。MAX16823每个通道的线性驱动器电路与MAX16803非常近似,主要不同点是MAX16823的可调恒定输出电流为5-70mA,在REG端上的稳压器输出为3.4V,3个集成电路的压差都为0.70V,并且增加了LED开路检测功能。

MAX16823的引脚LEDGOOD是一个开路漏极输出端,一个逻辑高电平指示3个通道上的LED连接是适当的(GOOD);一个逻辑低电平则指示一个或更多通道上的LED开路,或者表示在引脚DIM上的信号停留在低电平的时间超过编程的延迟时间。LEDG00D延迟时间由引脚LqC与地之间连接的电容C(LGC)确定,计算公式为:
MAX16823的引脚DIM1、DIM2、DIM3、LEDGOOD连接在一起,再通过电阻R(1)连接到V(REG)端(3.4V),如图8-28所示。这种电路在有一个LED开路的情况下,所有的输出将被锁断(Latch-0off)。只要故障状态解除,MAX16823将再次通过周期性供电恢复电流调节。

MAX16823在汽车LED尾灯/停车灯中每个通道的应用电路基本相同。基于MAX16823带预加载电流设置的两亮度电平汽车LED尾灯/停车灯驱动电路如图8-29所示。在这个电路中,预置负载电流由V(T1)产生,V(T1)的发射极电阻R(PRELOAD)确定预置负载电流的计算公式为:

图8-29所示电路与过去的主体控制器一起使用,可以监视汽车后鄯组合灯(RCLs)的最小电流。
